截至4月10日股票行情工具,上交所融资余额报13156.6亿元,较前一交易日增加26.67亿元;深交所融资余额报12717.43亿元,较前一交易日增加26.64亿元;两市合计25874.03亿元,较前一交易日增加53.31亿元。
元股证券举报 第一财经广告合作,请点击这里此内容为第一财经原创,著作权归第一财经所有。未经第一财经书面授权,不得以任何方式加以使用,包括转载、摘编、复制或建立镜像。第一财经保留追究侵权者法律责任的权利。如需获得授权请联系第一财经版权部:banquan@yicai.com 相关阅读

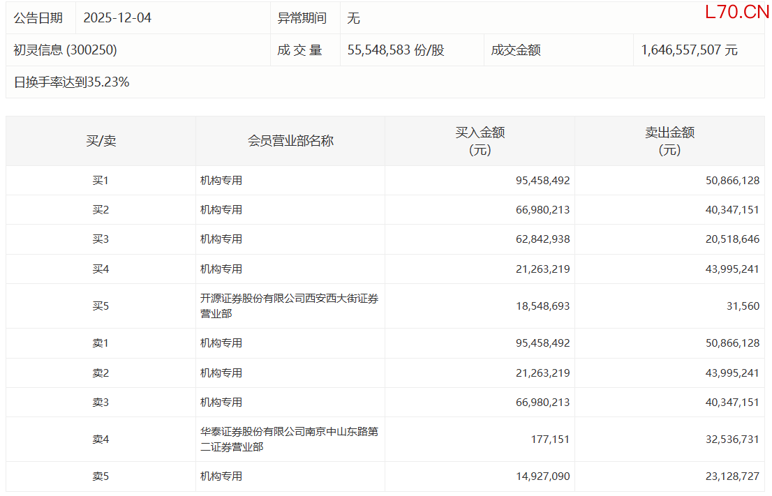
初灵信息今日20%涨停,3家机构专用席位净买入1.14亿元
初灵信息今日20%涨停,3家机构专用席位净买入1.14亿元

17 2025-12-04 16:29

和而泰今日涨停,3家机构专用席位净买入3.30亿元
和而泰今日涨停,3家机构专用席位净买入3.30亿元
元股证券:ygzq.hk 2025-12-04 16:26

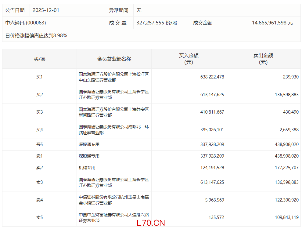
中兴通讯今日涨停,国泰海通上海中山东路大额买入
中兴通讯今日涨停,国泰海通上海中山东路大额买入
17 2025-12-01 16:28

航天发展今日跌10.00% 陈小群席位净卖出2.78亿元
航天发展今日跌10.00% 陈小群席位净卖出2.78亿元
2025-11-26 16:44

一周主力丨电力设备板块遭抛售超500亿元 凯美特气获加仓居首股票行情工具
一周主力丨电力设备板块遭抛售超500亿元 凯美特气获加仓居首
2025-11-23 16:29 一财最热 点击关闭
环宇证券|高效配资炒股平台让投资更简单提示:本文来自互联网,不代表本网站观点。